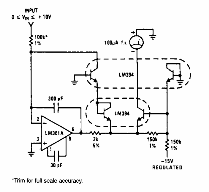
In this 1990s circuit, found in a National Semiconductor manual, the output voltage is the square of the input voltage. The components are from the period.
This transmitter kicks in when the microphone picks up sound. This sound then modulates the signal...
The great advantage of the circuit shown in the figure is the fact that its frequency is...
This circuit for incandescent lamps was found in the February 1972 Radio Electronics magazine. The triac is...