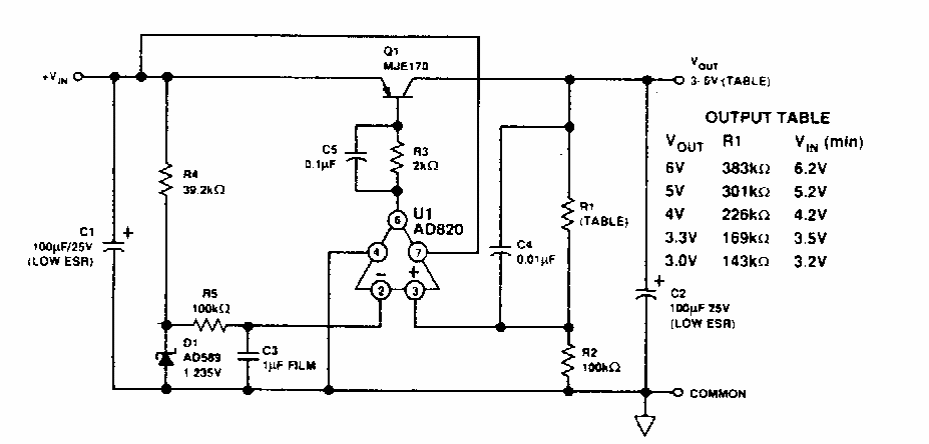
This simple LDO, or low voltage drop regulator was found in an Electronic Design from the 90s. The circuit uses components from the time.
This well-designed bistable configuration is for educational purposes. We found it in the...
This low power bass booster is from the 1977 National Semiconductor Audio Handbook. The circuit is...
This circuit, well known to our readers, only has a slightly different schematic representation, as it was...