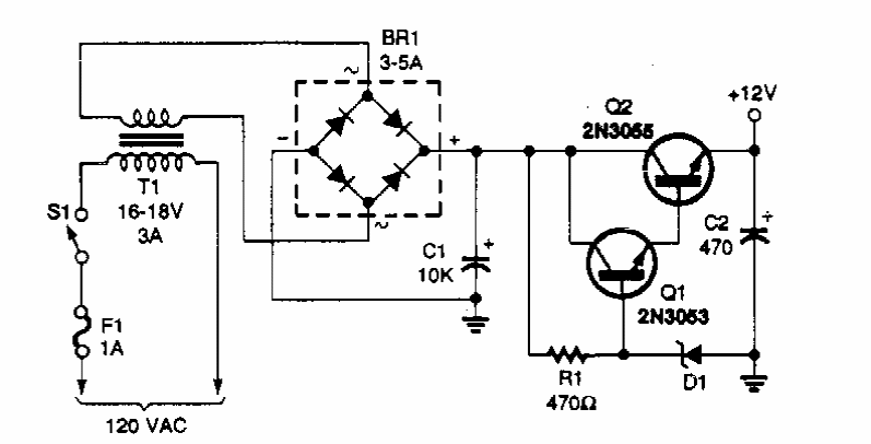
This simple 12 V power supply with current up to 2 A was found in a Popular Electronics from the 90s. The zener diode is 14 V and transistor Q2 can be a TIP42.
This transmitter kicks in when the microphone picks up sound. This sound then modulates the signal...
The great advantage of the circuit shown in the figure is the fact that its frequency is...
This circuit for incandescent lamps was found in the February 1972 Radio Electronics magazine. The triac is...