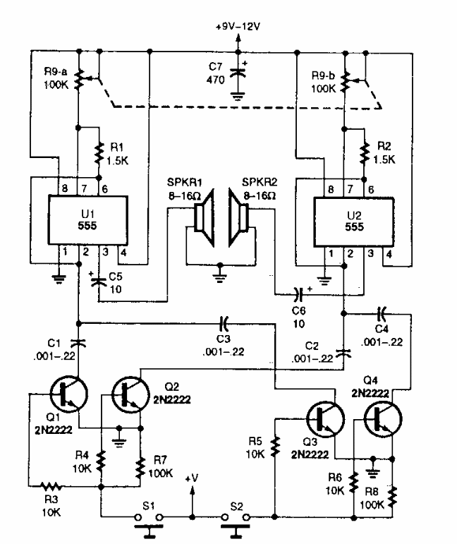
Found in Popular Electronics from the 90's, this circuit uses 555 integrated and common transistors to generate two tones determined by push buttons S1 and S2.
This circuit, found in a publication from the 1970s, uses two PNP power transistors that can be...
This circuit offers excellent sound quality for headphones of 150 ohms or more. The circuit was...
This oscillator with different outputs has frequencies selected by the S2 switch in 3 bands. We...