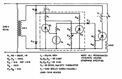
Found in a 1967 GE SCR manual, this circuit is intended to control resistive loads, such as heating elements, up to 5 kW.

Found in a 1967 GE SCR manual, this circuit is intended to control resistive loads, such as heating elements, up to 5 kW.