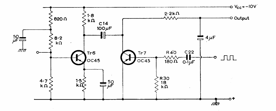
This circuit was found in Mullard's 1960s transistor manual. The circuit employs contemporary germanium transistors and operates at 1.65 kHz.
Found in a 1966 documentation, this mid-wave receiver makes use of period germanium transistors. The phone...
With an 18 V input, this regulator was found in Philips documentation from the 60's. The...
Despite being from a 1969 publication, the transistors used have current equivalents such as BC548 and...