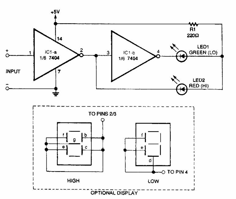
We find this circuit in an Electronics Now. The indication of the logic level is done on a 7-segment display according to the connections given in the diagram.
This two-digit timer was found in the 1983 Special Projects issue of Radio Electronics magazine. The...
Found in a publication by National Semiconductor, this circuit provides an output voltage of 3.3...
This circuit was found in a 1968 EEE and can be implemented with any current general-purpose transistor....