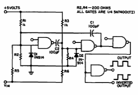
This circuit was found in an old TTL circuit manual. The circuit must be powered by 5V, and the capacitors chosen according to the frequency range generated.

This circuit was found in an old TTL circuit manual. The circuit must be powered by 5V, and the capacitors chosen according to the frequency range generated.
