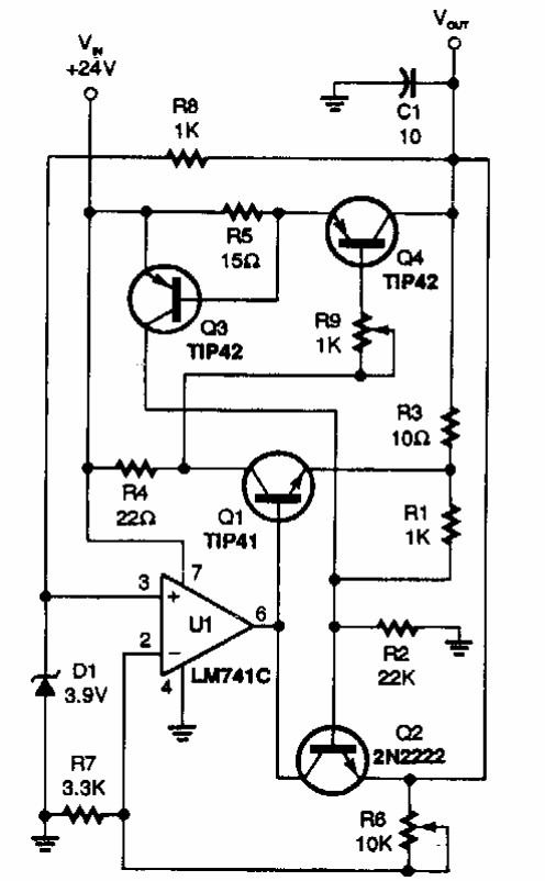
This current-limited circuit was found in a Popular Electronics from the 90's.
This well-designed bistable configuration is for educational purposes. We found it in the...
This low power bass booster is from the 1977 National Semiconductor Audio Handbook. The circuit is...
This circuit, well known to our readers, only has a slightly different schematic representation, as it was...