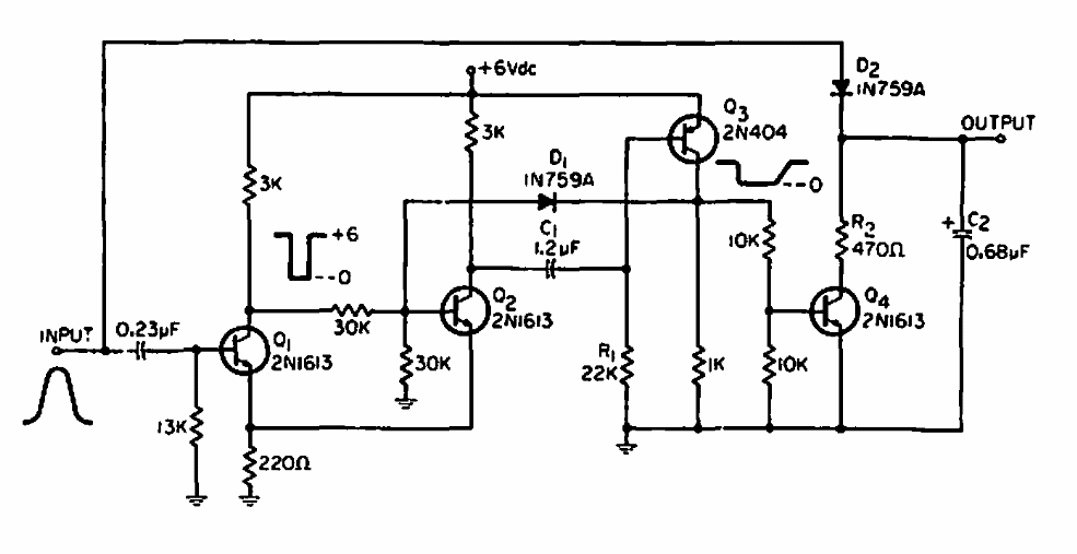
We found this circuit in an American documentation from the 60s. The circuit can be made with equivalent transistors. It basically consists of a monostable.
This high-speed circuit was found in 1980s Linear Technology documentation. The circuit makes use...
The transistors of this amplifier for 8-200 headphones may be the BC548 or equivalent to replace...
The frequency of this pulser depends on the capacitor and the characteristics of the relay. The...