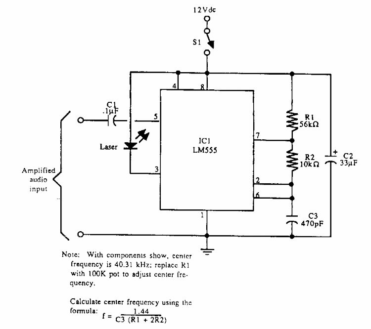
This modulator circuit was found in an American documentation from the 90's. The circuit uses a low power LASER diode. Power is supplied with 12 V.
If you are on an old PC that you use for experiments, control or other applications, this circuit is...
We found this circuit in an American publication from 1977. The circuit drives two LEDs according to...
In this circuit, the integrated amplifier used is uncommon today. The circuit is from an American...