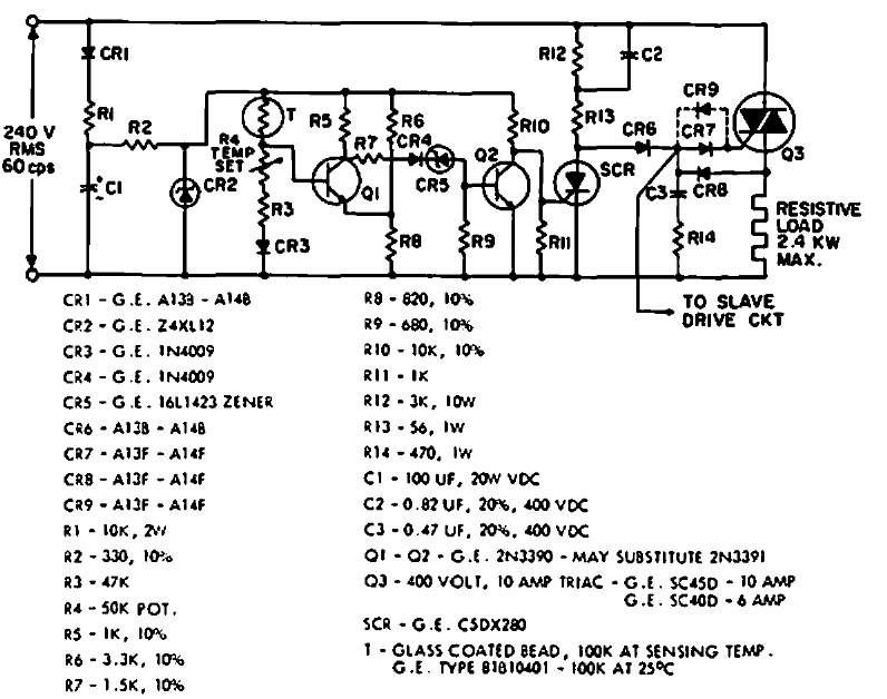
This semi-proportional temperature control was found in old American documentation. The components are from the period and the maximum power of 2.4 kW.
This amplifier is suggested by Sanyo and can excite loads of 4 ohms with a power of 4.5 Wrms. The...
This circuit was found in a 1967 RCA publication. The circuit uses components from that time, and...
This circuit with silicon transistors was found in a Radio Electronics from July 1965. The circuit of...