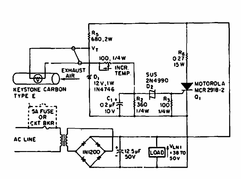
This circuit uses a heated filament as a sensor. With the air current it changes resistance, and the circuit detects it. The circuit is from a 1969 EEE.
We find this circuit in a 1974 Motorola PUTs (Unijunction Programmable Transistors) documentation. The circuit...
The presented circuit can be implemented with a BC548 and for larger currents a BD135 can be used....
Using a 4046 PLL this circuit was obtained from the October 1994 issue of Electronics Now...