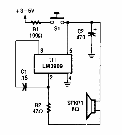
This circuit with the LM3909 can be powered with voltages from 3 to 5 V. We found it in a Popular Electronics from the 90s.
This version is a variation of the previous circuit, inverting the position of the transistors to have the...
A frequency range determined by the network of resistors and capacitors with negative feedback and input...
This circuit was found in an English magazine Radio & Electronics Constructor of February 1977....