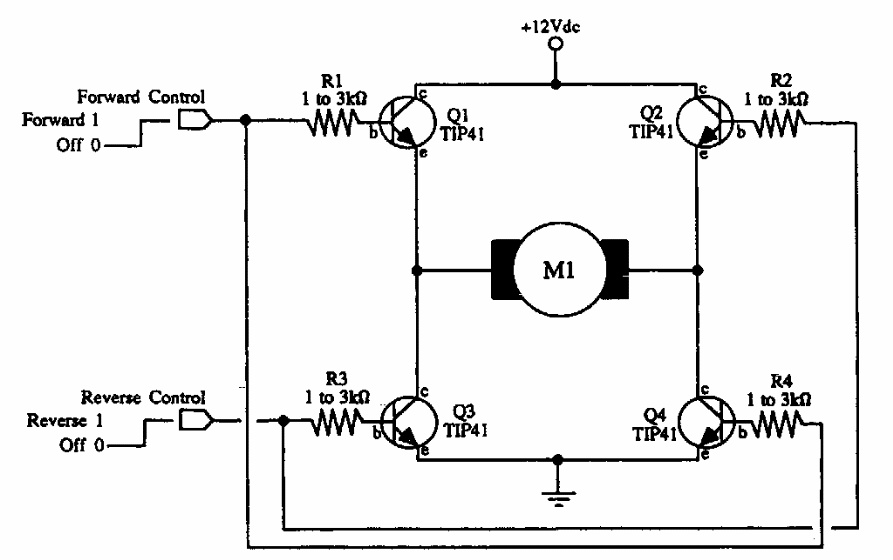
This circuit was taken from old American documentation. The transistors used make it possible to control a motor with up to 2 A of current. They must be equipped with heat sinks.
.
This circuit was found in the Linear Applications Handbook by National Semiconductor. It uses...
This temperature compensated circuit was found in a Popular Electronics from the 90s. Integrated...
This circuit can operate with 27 MHz transmitters, having been found in a Japanese publication from 1967....