This circuit was found in a Popular Electronics from the 90's. The power transistors must be equipped with a heat sink.
This circuit was found in the Linear Applications Handbook by National Semiconductor. It uses...
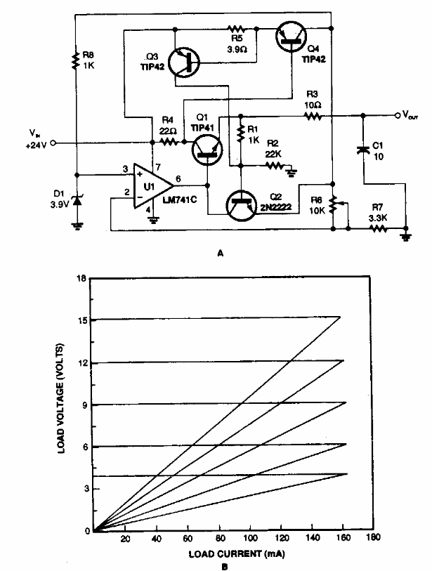
This temperature compensated circuit was found in a Popular Electronics from the 90s. Integrated...
This circuit can operate with 27 MHz transmitters, having been found in a Japanese publication from 1967....