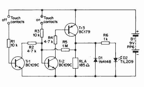
This touch switch has a bistable action and powers an LED. The circuit can be changed to control a relay. Transistors support general-purpose equivalents.

This touch switch has a bistable action and powers an LED. The circuit can be changed to control a relay. Transistors support general-purpose equivalents.
