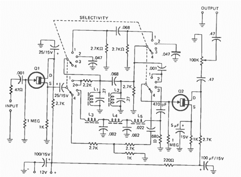
This sophisticated filter for audio signals was found in Radio Electronics magazine. The frequencies are determined by LC circuits. The circuit has selectivity selected by a switch.
This is a single IC voltage regulator that can acts in the range from 1.2 to 20 V. Output currewnt is up to...
This circuit was found in an 80's Electronic Design. It amplifies TTL fast signals for a coaxial...
Found in a Mullard Manual from 1960, this circuit contains a transistor push-pull output being...