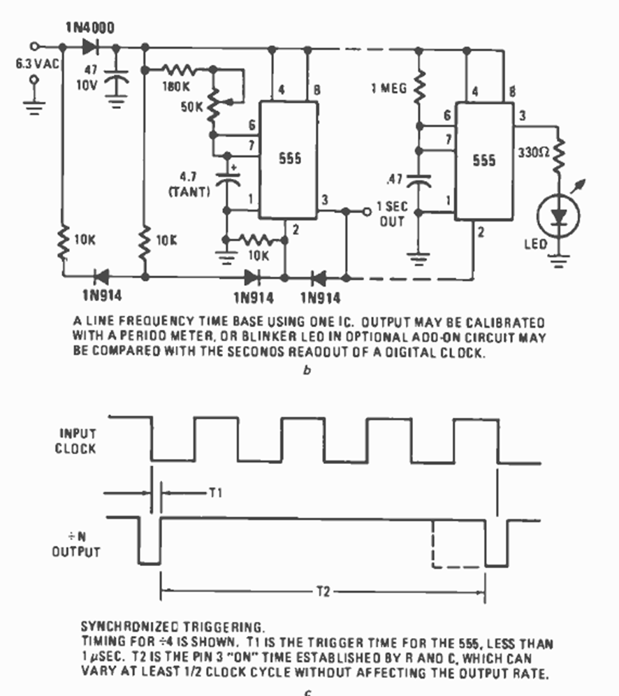
This mains-synchronized circuit produces a simple 1 pulse per second. The circuit is from a Radio Electronics magazine from May 1977.
This control, which may appear in other versions on this site, was found in documentation from the...
We found this circuit in a Motorola documentation from 1978. The circuit is based on the LM324...
We found this circuit in an American 80's documentation. The circuit can be adapted to function as a...