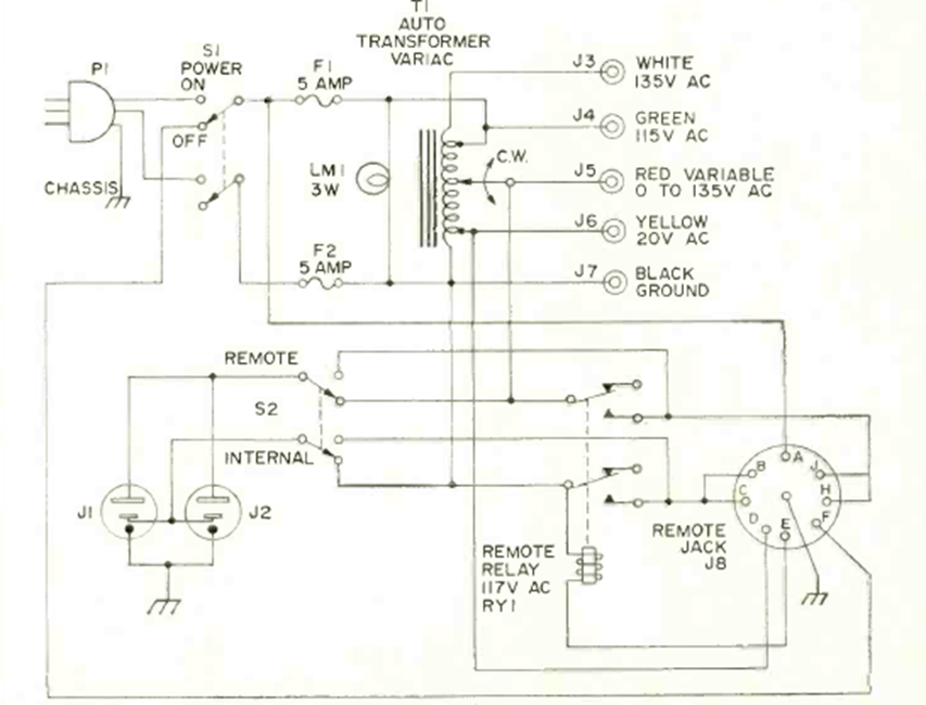
This is a very useful autotransformer circuit on the bench. We found it in the September 1970 Radio Elecronics magazine. The transformer must be according to what you want to feed at the output.
This circuit, obtained from old documentation, allows the recovery of sulfated batteries. The...
This 80's circuit uses a small light bulb as an indicator, but an LED with the appropriate resistor...
This amplifier with the RCA CA3018 integrated circuit was found in the August 1970 issue of Radio...