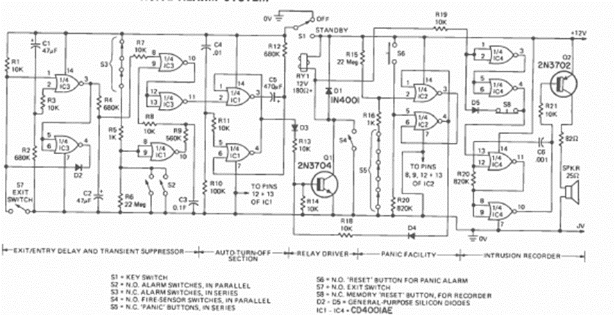
This circuit was found in an article in Radio Electronics magazine from May 1975. The circuit has several features and is powered by a 12 V source or battery.
We found this circuit in the National Semiconductor Audio Handbook of 1977. The circuit produces...
This stage was used in old audio ampliiers and radios from the 1950s and 1960s. It uses one of the...
If the battery is good, the LED flashes. This simple tester uses an LM3909 integrated circuit. We found...