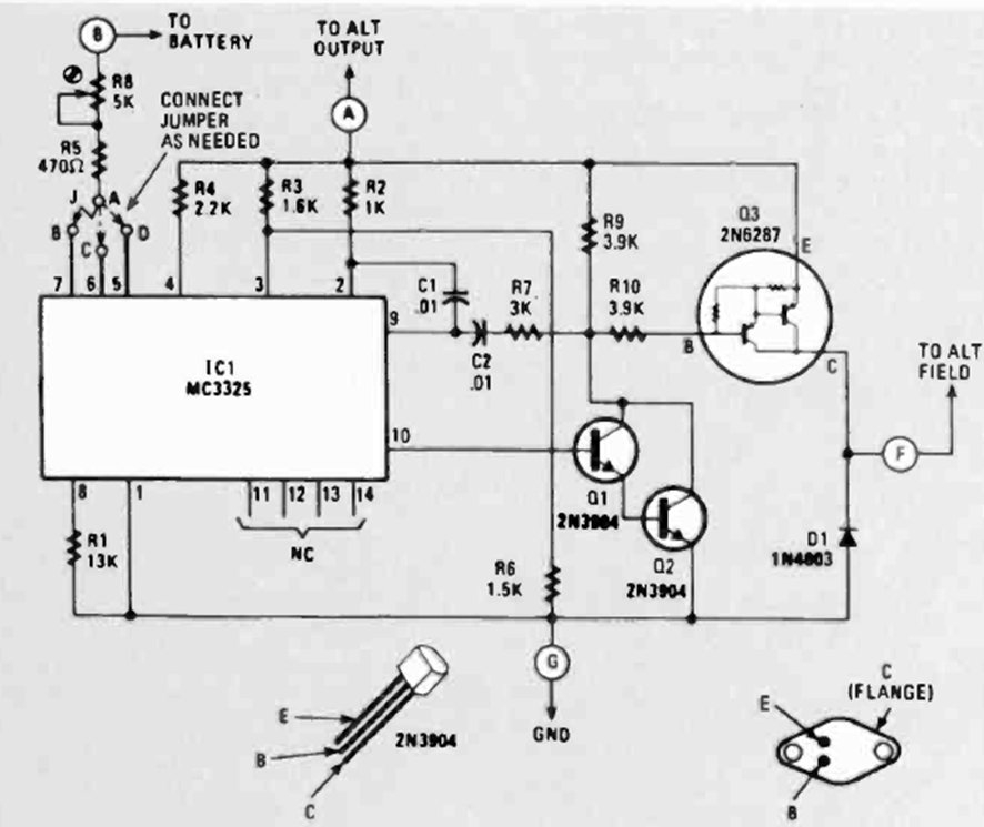
This circuit was found in the June 1980 issue of Radio Electronics magazine. The circuit uses an integrated circuit from time, and a power Darlington that must be equipped with a heat sink.
Applying a high voltage to a mixed lamp can obtain a bluish light with a decorative effect. This...
We found this transistorized AM receiver of the regenerative type of excellent quality in a...
This circuit indicates the logical level of a CMOS circuit, extracting the power from the circuit...