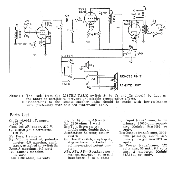
The circuit presented was obtained from the RCA Manual of Valves edition 1971. It is a conventional intercom that uses three common valves, two amplifiers and one rectifier. Critical components are transformers. The power transformer must supply 125 V with 50 mA and the others are output and input transformers with the impedances given in the English original in the bill of materials. The intercom has two remote stations that are switched by the S2 switch. S1 is the key speak-hear. The connection wires may be a few tens of meters in length and do not need to be shielded.




