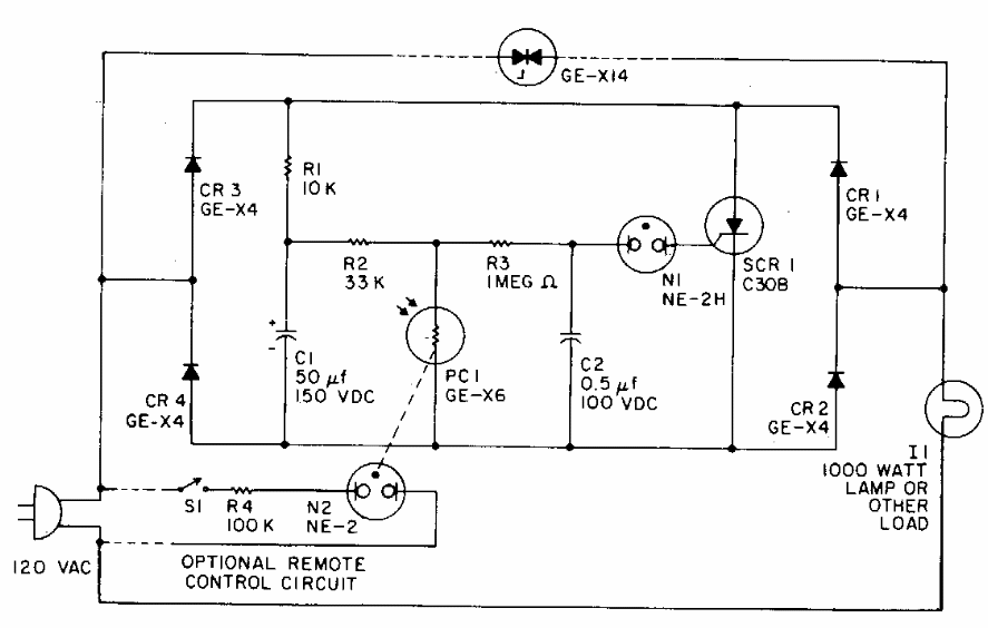
This high-power flasher for incandescent signaling lamps was found in a 1980s General Electric documentation. The circuit has a photoelectric control and is powered by the 110V grid.
This circuit can be installed inside a toy space gun to produce a “Phaser” effect. The circuit is from...
Found in an English publication from 1967, this circuit generates 5 kHz signals with harmonics that...
The characteristics of this amplifier that does not require a symmetrical source are given in the...