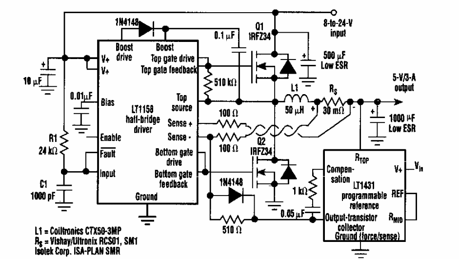
Found in an Electronic Design from the 90s, this circuit does not need sinks for its components. The circuit converts 8 to 12 V input into 5 V x 3 A output.
This automotive circuit was found in the September 1992 issue of Radio Electronics magazine. The...
This low frequency astable multivibrator use two probes in the simulation. The probes ar found in...
This circuit with zener diodes was found in documentation from the 90s. The zener diodes determine the...