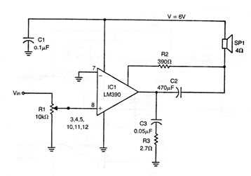
The integrated circuit used in this project is no longer very common, but if found it can result in a small general-purpose amplifier of excellent quality. The supply is 6 V, and the other components are common. We can use the circuit on radios, intercoms, toys, etc. The input cable must be shielded. Use batteries or a source of at least 300 mA for power.




