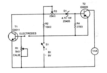
The transistor of this circuit found in an old American documentation can be the BC548 for T1 and BC558 for T2. The indicator can be a milliammeter or a low current scale of an analog multimeter. The adjustment trimpot R3 can be 22k or 47k and R1 can be 4k7. The electrodes are metal bars that the respondent must hold. Power is provided by a 9 V battery.




