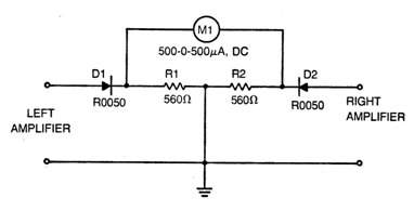
This simple circuit indicates when the two channels of stereo equipment are balanced. The diodes can be 1N4002 or 1N4004 and the indicator is a microammeter with zero in the center of the scale. The circuit is connected to the amplifier outputs. It is convenient to connect in series with the indicator instrument a resistor from 1k to 4k7, depending on the power of the amplifier.




