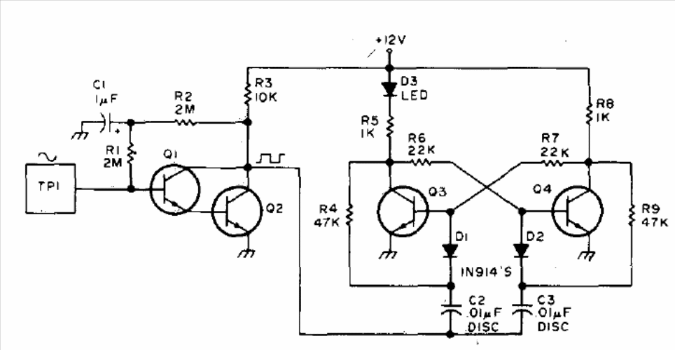
We found this circuit in a 1976 documentation, but it can still be easily assembled using BC548 transistors. A second LED in series with R8 can be used. A touch of the sensor causes the LED to light up or go out. Do not use a source without a transformer to power this circuit.




