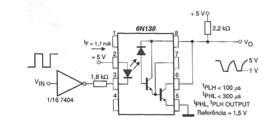
Here we have in the figure the configuration of the circuit as a conventional Darlington. In this configuration there is no need for a polarization circuit. The data transfer speed is 2 kB / s and the output signal voltage varies between 1 and 5 V.

Here we have in the figure the configuration of the circuit as a conventional Darlington. In this configuration there is no need for a polarization circuit. The data transfer speed is 2 kB / s and the output signal voltage varies between 1 and 5 V.
