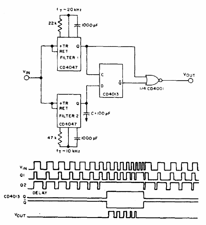
This circuit was obtained in the 1977 RCA CMOS manual. The circuit has the frequencies determined by the RC networks in the integrated circuits 4047. See the datasheet how to make the connection. The timing diagram for the signals is given below the diagram. The power supply is CMOS and can be between 5 and 12 V.




