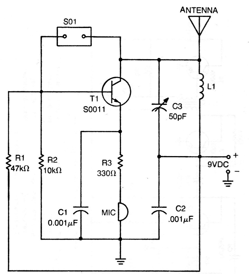
This circuit is from an American publication from 1970. It uses a coal microphone, which is already very difficult to find. We can place R3 directly to earth and use a ceramic microphone connected between the base of the transistor and the earth. L1 consists of 10 spines of wire 28 in a form of 1 cm without core and C3 is a common trimmer. The power is supplied by a 9 V battery and in SO1 a crystal is placed for the 11-meter range in the desired channel. The antenna is telescopic from 80 cm to 1.5 meters. The transistor can be 2N2222 or even BD135.




