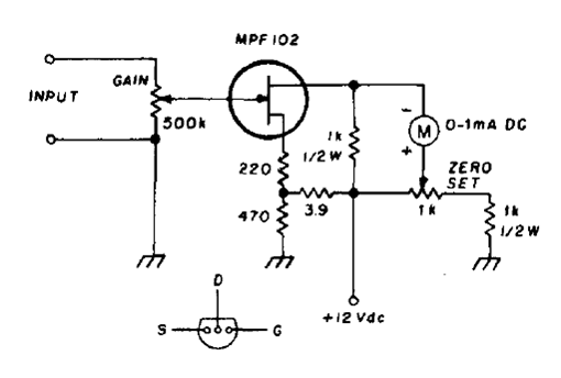
This circuit has a very high input resistance to excite a 0-1 mA indicator instrument. The FET admits equivalent as the BF245 and the gain pot can be 470k.

This circuit has a very high input resistance to excite a 0-1 mA indicator instrument. The FET admits equivalent as the BF245 and the gain pot can be 470k.
