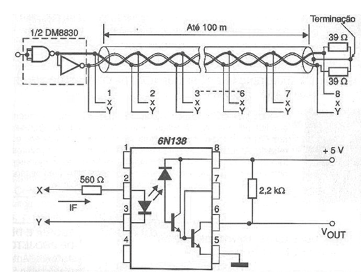
In the figure we show the typical configuration of a shared line using a twisted pair where the circuit with the 6N138 can be used. Up to eight circuits can be used in the circuit. The line driver IC is conventional, and the maximum recommended line length is 100 meters. The typical data transfer speed is 180 kB / s (which corresponds to typical rise and fall times of 3 us). The loads can be randomly distributed along the line.




