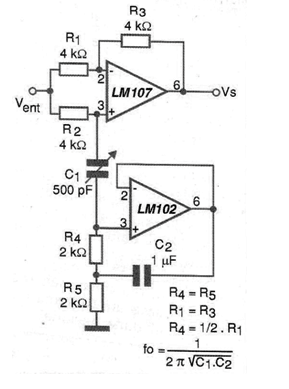
A very interesting and versatile filter circuit, suggested by National Semiconductor is the one shown in the figure, based on the operational amplifiers LM107 and LM102, which must be powered by a symmetrical source.
The values of the components used must maintain the relationships indicated in the diagram and, for better performance, they must be of low tolerances. Also next to the diagram we have the formula that allows us to calculate the filter tuning frequency. See that it basically depends on the product C1 x C2.
An important application for this circuit is in the rejection of line noise (60 Hz) since it can be easily tuned in order to compensate for the characteristics of the components.




