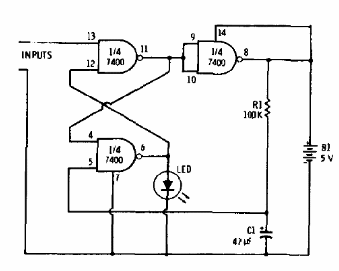
This monostable circuit, from a 1977 Radio Shack documentation, uses a 7400. The time is given by the capacitor and the power must be supplied with 5 V.
This circuit uses a sensitive reed relay to control external loads. The time delay is given by the...
The circuit in the figure uses hall sensors to obtain the current measurement through the magnetic...
This circuit of a 73 American magazine from the 1990s can generate multiple frequency signals from the...