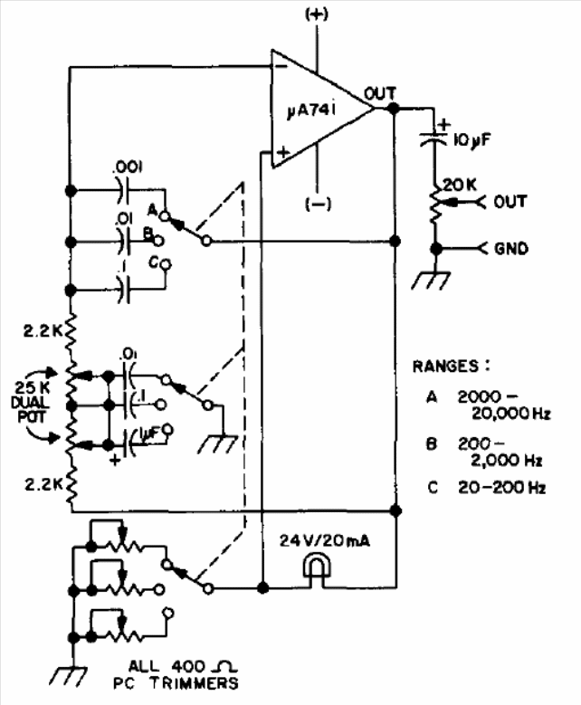
We found this circuit in an American technical documentation from 1974. The circuit can generate signals in three frequency ranges and its supply must be symmetrical with voltages from 6 to 12 V. The stabilizer lamp is the critical element of the project.




