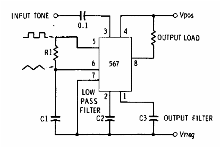
This circuit can decode an audio tone whose frequency depends on R1 and C1. R1 can be in the range of 2k to 20k and the frequency is given by f = 1 / R1 x C1. The circuit is from an American publication of 1975 and must be powered by voltages between 6 and 10 V. The load triggered when the circuit output goes to low level.




