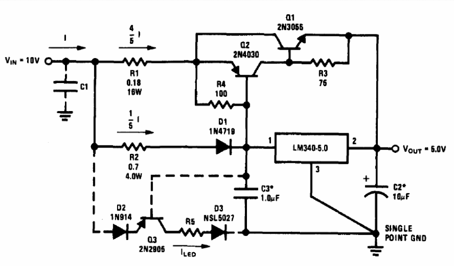
This source was found in the National Semiconductor's Linear Applications Handbook of 1994. Transistors support equivalents such as BD136 for Q2. Transistors and integrated circuit must be mounted on heatsinks.
This source was found in the National Semiconductor's Linear Applications Handbook of 1994. Transistors support equivalents such as BD136 for Q2. Transistors and integrated circuit must be mounted on heatsinks.