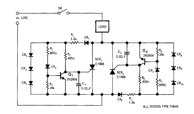
This circuit switches a load in 0.013 ms after closing the switch and after the start of each cycle. SCRs must have current capacities according to the load and the transistors can be BC548. The circuit is from 1971 technical documentation. SCRs must be mounted on heat sinks.




