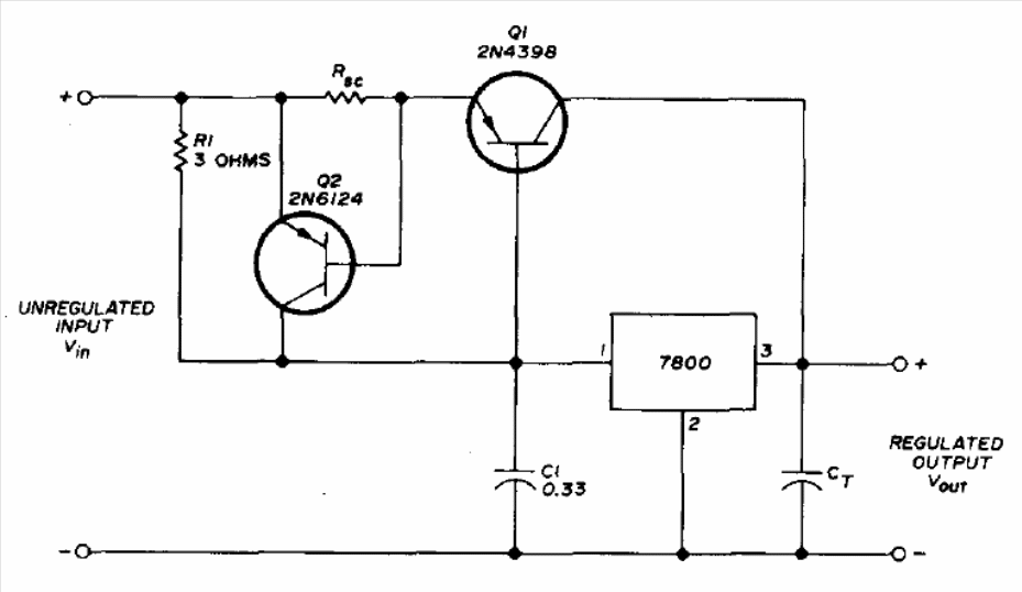
With the original transistor, this circuit can supply a current of up to 30 A. However, we can use more common transistors today for smaller currents. For example, we can use 2N2955 for 15 A. BD136 is the replacement for Q2. The Q1 transistor must have an excellent heat radiator.




