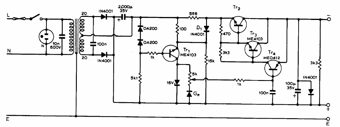
This simple bench source uses only transistors and can supply up to 500 mA with a BD135 for TR2. The other transistors can be BC548 for NPN and BC558 for PNP. The BD must have a heat radiator. With the original transistors the maximum current is less.




