The circuit below is suggested by National Semiconductor in technical documentation on the LM3909. The circuit is powered by a single battery and has a very low consumption.
This transmitter modulator amplifier for the 11-meter band (CB) was published in Radio Electronics...
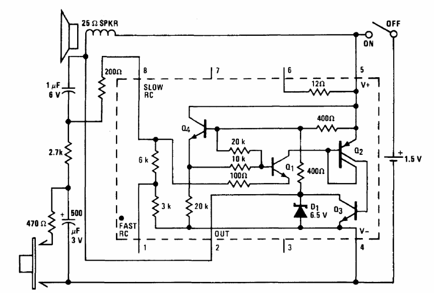
This oscillator, which operates from 2 V, was found in the June 1993 issue of Radio Electronics magazine....
This amplifier for electrometer can work with currents of 0.1 pA in a band of 1 Hz. The circuit is...