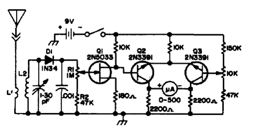
This instrument was found in a publication for radio amateurs in 1973. The tuned circuit consists of 11 turns of wire 28 in the form of 1 cm without core for the range of 13 to 24 MHz. L1 consists of 5 turns of the same wire over L2. The variable is from an ordinary AM radio. The FET can be the BF245 and the other BC548 transistors. The antenna is telescopic from 60 to 100 cm.




