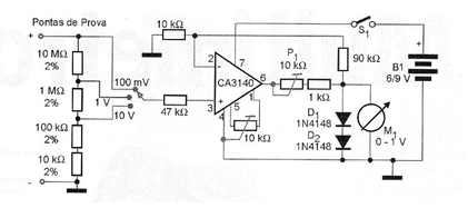
The circuit of the figure allows to implement a multimeter of high sensitivity or even to use a common multimeter obtaining characteristics of high sensitivity. The selection of the bands is made by the switch and has funds of 100 mV, 1 V and 10 V. The full scale is determined by resistor R1 together with R6. This gain can be changed if the reader wishes to modify the instrument's scales. The indicator instrument is a voltmeter with 1 V full scale, or a multimeter adjusted for that scale. The circuit sensitivity is 1 M ohms / V. Power is provided by a 9 V battery and as consumption is extremely low, its durability will be long.




