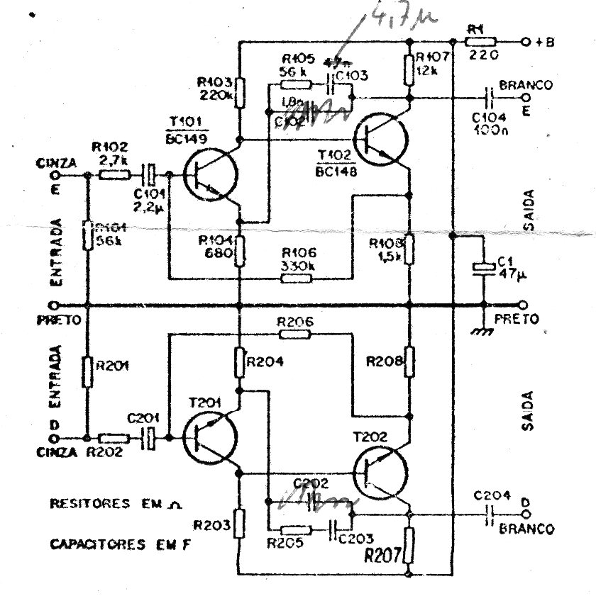
In the 70s, Ibrape launched an excellent audio pre-amplifier kit to be used in amplifiers of the time. With power between 6 and 19 V it had a gain of 35 dB with an input sensitivity of 4.3 mV. Its output was 250 mV with an impedance of 100k. The same circuit can be assembled with the BC548.




