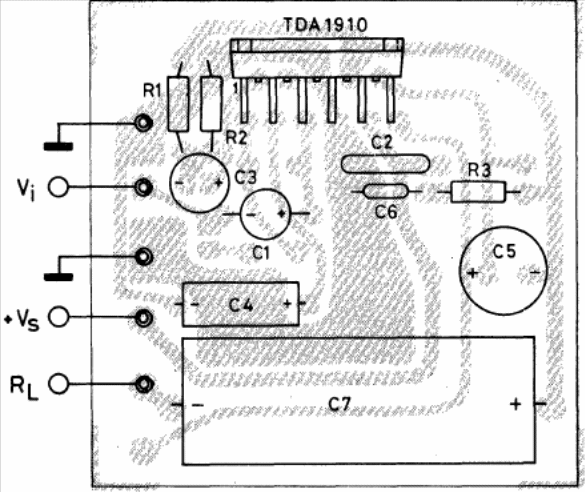
With 8 to 30 V power supply, the output power depends on both the voltage and the load. The circuit is from the 1982 SGS linear integrated circuit manual. The integrated circuit used is uncommon today. The printed circuit board is given next to the diagram.





