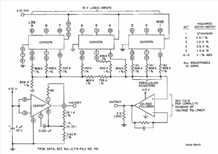
This 9-bit DAC circuit was found in the RCA CMOS integrated circuits manual of the 1970s. The circuit operates at 15 V and consumes between 70 and 200 mW. The currents at each outlet are approximately 400 uA.
This simple oscillator is yet another of the many versions of sonic insect repellent that we find...
The circuit in the figure operates at frequencies from 4 to 20 MHz and also uses a common junction FET...
This TTL counter was found in the April 1979 issue of Radio Electronics magazine. The circuit is...