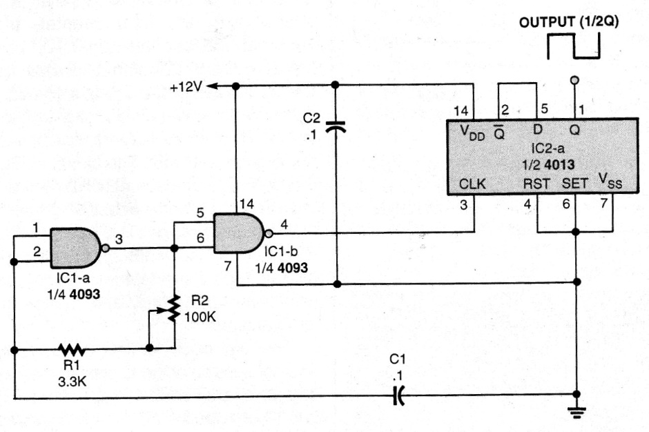
This CMOS oscillator has the signals produced by a 4093 that excites a flip-flop. The circuit can operate with voltages between 5 and 12 V, generating signals as few megahertz, depending on capacitor C1 and R2 setting. The circuit is from an American publication from the 90s.




