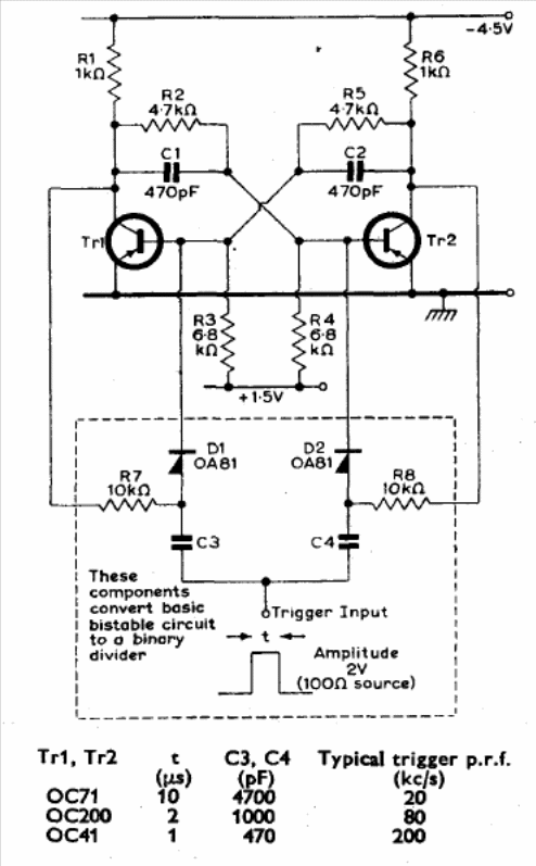
We found this circuit in Mullard's transistors manual from 1960. The circuit can be designed with more modern transistors and minor changes to the resistors.

We found this circuit in Mullard's transistors manual from 1960. The circuit can be designed with more modern transistors and minor changes to the resistors.
